Има много начини за изграждане на канализационна система в лятна вила или частен дом. Популярен вариант е самостоятелно изгражданата септична яма от бетонни пръстени. Инсталирането на такава конструкция е с минимални разходи и осигурява проста, но ефективна система за отвеждане на отпадъчни води за вашия дом.
За да инсталирате висококачествена канализационна система във вашия дом, Важно е да знаете всички нюанси Как да изградим надеждна септична яма, която ще издържи години. Важно е да изберете правилното място и материали за септичната яма.
Освен това, съществуват различни строителни схеми. Ето защо, преди да започнете работа, е най-добре внимателно да прегледате информацията за изграждането на такава конструкция.
- Основните функции на септичната яма, аспекти на нейното изграждане
- Популярни опции за септични ями
- Силните и слабите страни на септична яма, изработена от бетонни пръстени
- Проектиране на бъдещата сграда и изчисляване на количеството материали
- Местоположение на изкопната яма
- Изчисляване на обема на контейнер
- Как да изберем правилните бетонни пръстени
- Материали
- Изграждане на канализационна система
- Правим яма
- Подреждаме дъното
- Монтаж на бетонни пръстени
- Осигуряване на запечатан капак за поддръжка
- Типични грешки
- Колко ще струват строителството и материалите?
Основните функции на септичната яма, аспекти на нейното изграждане

В това отношение септичните ями значително превъзхождат изгребните ями, тъй като тази конструкция позволява отделянето на течността на твърди и леки компоненти, които след това се пречистват в отделен контейнер.
И така, как се справяте с отпадъците, които попадат в септичната яма? Много е просто: отпадъците се изпомпват, докато се пълнят, с помощта на вакуумна машина. С други думи, септичните ями са водоустойчиви конструкции, предназначени единствено за събиране на отпадъци и отпадъчни води.
Популярни опции за септични ями
Има два варианта: запечатан (със затворено дъно) и незапечатан резервоар (отворен).
За да изградите запечатана септична яма, ви трябват предварително изработени стандартни дъна. Въпреки че можете сами да излеете основата, използването на предварително изработени дъна значително ще опрости работата и ще намали времето за строителство. Размерите на дъното съответстват на размерите на бетонните пръстени. Ще ви трябват също метална мрежа, трошен камък и други армировъчни материали, за да завършите конструкцията.
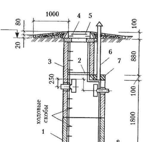
1 – бетонна заготовка с ширина до 1 метър; 2 – дървен под; 3 – бетонна заготовка с ширина до 0,7 метра; 4 – горен отвор; 5 – капак; 6 – вентилационна тръба; 7 – преграда; 8 – бетонно дъно; 9 – изравняващ слой от циментово-пясъчен разтвор.
Вторият вид септична яма се различава значително от подобни незапечатани конструкции. По същество това е септична яма, изработена от бетонни пръстени без дъно. Основата на тази конструкция е покрита с няколко слоя пръст, които впоследствие филтрират постъпващата течност.
Първо се полага речен пясък. Той позволява лесно преминаване на отпадъчните води и предотвратява застоя, но пясъкът има слаби филтриращи свойства. След това се добавя дребен натрошен камък, а след това по-голям слой. Върху него се поставят различни отпадъци, остатъци от строителни материали или друга едра почва.
Многокамерните конструкции също стават все по-често срещани. Обикновено те се състоят от два водоустойчиви контейнера, закрепени заедно. Този дизайн помага да се осигури пречистването на отпадъците. Изграждането на многокамерна септична яма е значително по-скъпо, но може да помогне за спестяване на пари от услуги за обезвреждане на отпадъчни води.
Силните и слабите страни на септична яма, изработена от бетонни пръстени
Основното предимство е дългият му експлоатационен живот. Средно може да функционира около 50 години. За да се удължи този живот, е достатъчно редовно почистване на септичната яма и ремонт на малки пукнатини, които в противен случай биха могли да доведат до структурна повреда. Заслужава да се отбележат и други предимства на бетонната яма:
- Стените на тази септична яма са запечатани, с изключение на местата, където се срещат пръстените. Това осигурява надеждна защита от отпадъци.
- Нивото на подпочвените води не влияе върху поставянето на бетонни пръстени в земята, което не може да се каже за септични ями, изработени от гуми или пластмасови резервоари.
- Този тип канализация е лесна за работа. Различни домашно приготвени химически и санитарни продукти са идеални за почистването ѝ. Може да се използва телена четка за механично отстраняване на утайките от повърхността.
- Наличност. Бетонните пръстени са материал, който няма да се налага да търсите дълго и упорито във всеки магазин за строителни материали в града. Обикновено се предлагат във всеки един от тях.

- Трудности при монтажа на бетонни пръстени. За решаването на този проблем ще е необходима повдигаща техника. Обикновено един бетонен пръстен с вътрешен диаметър до 70 см може да тежи приблизително 46 кг. Естествено, човек сам не може да повдигне такава тежест.
- Движението на почвата има вредно въздействие върху целостта на стоманобетонните елементи. Следователно, септичните ями не трябва да се разполагат в райони с изпъкнали почви, съдържащи високи концентрации на глина.
- Трудности при определяне на оптималната дълбочина за септична яма. В повечето случаи е необходим доста дълбок изкоп за резервоара. Това може да доведе до проблеми с бъдещите канализационни системи. Например, трудности с прахосмукачката и ямата бързо ще се напълни с тиня.
Проектиране на бъдещата сграда и изчисляване на количеството материали
По-долу ще разгледаме всичко стъпка по стъпка и подробно, от избора на място за фундаментната яма до избора на необходимия брой бетонни пръстени и определянето на оптималния им диаметър въз основа на вашите нужди.
Гледайте видеото
Какви други материали и инструменти ще ни трябват на различните етапи от изграждането на септична яма сами?
Местоположение на изкопната яма
Ако искате да инсталирате висококачествена септична яма, изработена от бетонни пръстени, която ще издържи много години, трябва да изберете правилното място.
Така че, разстоянието между ямата и източниците на питейна вода трябва да бъде най-малко 20 метра. Между жилищните сгради и канализационните тръби разстоянието трябва да бъде 15 метра, а от нежилищни сгради разстоянието трябва да бъде 10 метра. Оптималното разстояние между ямата и оградата и пътя е най-малко 1-2 метра. За да избегнете проблеми със съседите, трябва да спазвате 4-метрова дистанция от техния имот.
Трудно е да се каже точно на какво ниво на земята трябва да се разположи септична яма. Изграждането ѝ в най-ниската точка увеличава риска от изтичане на отпадъци в подпочвените води. От друга страна, високото разположение на резервоара усложнява изграждането на надежден тръбопровод.
Изчисляване на обема на контейнер
Този процес изисква прецизно определяне на размерите и обема на резервоара, което изисква няколко изчисления. Ако жилищният имот има баня и водопотребяващи уреди, тогава всеки жител ще консумира приблизително 150-200 литра отпадъчни води на ден.
Така че, ако семейство от трима души живее в къща, приблизително 450-600 литра отпадъчни води ще се събират на ден, което води до общо 1,35-1,8 м³. Това е най-малкият възможен обем.
При изчисляване на размера и обема не се включват размерите на гърлото на шахтата или площта на кладенеца над входа на тръбопровода. Това означава, че при изчисленията се вземат предвид само размерите на долната част на резервоара.
Можете също да използвате честотата на посещенията на камиони за събиране на отпадъчни води като ориентир. Да вземем същото малко семейство като пример. Ако камионите за събиране на отпадъчни води идват всяка седмица, формулата е: 150 литра (обем на отпадъчните води) * 3 (брой хора) * 7 (дни) = 3,15 м³.
Каним ви да се възползвате от онлайн калкулатор за изчисляване на обема на резервоар за отпадъчни води.
Как да изберем правилните бетонни пръстени
Размерът на бетонните пръстени значително влияе върху капацитета на септичната яма. Стандартните размери на пръстените са с височина 0,89 метра и диаметър 1 метър. Този тип се произвежда от почти всички фабрики за сглобяем бетон. За къща с един до трима жители са достатъчни три бетонни пръстена, заедно с шийка и основа.
Много фабрики произвеждат пълен комплект от части, необходими за изграждането. Това включва долната секция с основа, 1-5 бетонни пръстена със стандартен размер, стеснена шийка и горна плоча с отвор за капака. Самият капак се закупува отделно.
Ако не сте доволни от стандартните размери, можете да закупите пръстени с по-голям диаметър.
Материали
Бетонните пръстени не са единственото нещо, от което ще се нуждаете, за да изградите септична яма. Ще трябва да се запасите и със следните строителни материали:
- скоби за закрепване на елементите;
- уплътнител за шевове;
- течен битум или друго средство, което ще осигури запечатване на кладенеца от двете страни;
- цимент за увеличаване на здравината на засипката;
- засипка за изравняващ и почистващ слой.
За да премахнете излишната почва, ще ви трябват кофи, лопати и лебедки. Препоръчително е също така да уговорите предварително наемане на камион, който да достави бетонните пръстени. Може да ви е необходима и специализирана техника с кран, ако имотът ви няма лебедка.
Този вид работа не е предназначена за един човек, така че ако е възможно, помолете семейството или приятелите си за помощ. В краен случай можете да наемете строителен екип.
Изграждане на канализационна система
Всеки етап от строителството изисква специфичен подход. Монтажът на всеки компонент е значително повлиян от терена и местоположението на канализационната линия. Ето инструкциите за изграждане на септична яма.
Гледайте видеото
[sociallocker]
Правим яма
Първият етап включва изкопни работи. Това не изисква голям брой хора, така че е лесно да се справим сами. Отнема малко време, но е рентабилно. Ако желаете, можете да наемете екип или мини багер.

Важно е също да се вземе предвид колко дълбоко замръзва земята. Тръбите и основната част на септичната яма трябва да бъдат разположени малко по-ниско, за да се избегнат проблеми с работата на ямата през студеното време. Не пренебрегвайте тази информация, тъй като в противен случай отпадъците просто ще замръзнат през зимата.
Височината на изходния отвор трябва да се добави към размерите на работната яма. Отворът трябва да е на 15-20 см над земята.
Преди да започне строителството, основите и стените трябва да бъдат изравнени и да се изкопае тръбопровод. За да се предотвратят чести запушвания на тръбите, е важно да се поддържа наклон от приблизително 2 см на метър към септичната яма.
Подреждаме дъното
Ако сте решили да инсталирате обикновена яма за събиране на отпадъци в двора си, тя трябва да е водонепропусклива. Най-добре е да изградите основата от специално подготвен материал за дъното на кладенеца. За да осигурите сигурно монтиране, е важно да изградите чисто, здраво дъно. За да предотвратите слягането на основата, изсипете върху нея изравнителен слой циментово-пясъчен разтвор.

Продължете с по-нататъшния монтаж на дъното не по-рано от 7 дниАко искате да намалите времето, необходимо за изграждане на септична яма, сглобяема бетонна плоча е правилният избор. Тя се поставя върху равно, гладко дъно, а първият бетонен пръстен се поставя отгоре.
Засипката трябва да бъде инокулирана с колонии от специализирани бактерии, които разграждат и филтрират отпадъците. Дебелината на тази подложка варира: за плитка яма е достатъчна 0,3 м, докато кладенци с 3-4 колела изискват до 0,6-0,7 м. Що се отнася до почистващата засипка, разположена в шахтата на кладенеца, нейната дебелина трябва да бъде по-голяма от 1,0 м.
Слоевете са подредени в следния ред:
- пясък;
- малък натрошен камък;
- едрофракционен натрошен камък.
За разлика от самия контейнер, подложката и почистващият слой изискват редовна подмяна. Когато се замърсят и вече не пропускат течност, те трябва да бъдат отстранени и заменени с нов слой.
Монтаж на бетонни пръстени
След като ямата е правилно подготвена, първият бетонен пръстен с дъно се поставя отдолу. Поставете парчето внимателно, за да предотвратите накланянето на конструкцията на една страна.

В магазин за железария ще намерите голямо разнообразие от материали, които ще гарантират качеството и надеждността на вашата септична яма. Някои са подходящи дори за обработка на влажни фуги и шевове, дори ако те вече са под водно налягане. Други надеждно ще предпазят бетонните пръстени от вредното въздействие на химикалите, които са неразделна част от всеки процес на изхвърляне на отпадъци.
При монтажа на бетонни пръстени се препоръчва да се даде предимство на посочените по-долу средства:
- хидравлични уплътнения – след втвърдяване те бързо се разширяват, покривайки евентуални пукнатини;
- разтвори – нанасят се върху цялата повърхност на кладенеца;
- уплътнители за дълбоки фуги, съдържащи влакнеста гума;
- уплътнителни гумени ленти;
- течно стъкло, смесено с циментов разтвор;
- акрилен уплътнител.

Преди да монтирате следващия елемент, уверете се, че между бетонните парчета не може да протече вода. Вход за тръбопровода трябва да се направи под линията на замръзване. Монтирайте тръбата незабавно и я свържете към резервоара. Уверете се, че връзката е правилно уплътнена.
На места, където тръбата преминава над нивото на замръзване на земята, е необходимо допълнително да се изолира.
На повърхността на външния пръстен се монтира шахта, след което се поставя подовата плоча. Важно е тя да има място за люка. За вентилационната тръба ще е необходим по-малък отвор. Последната стъпка е засипване. За да се увеличи стабилността на шахтата и да се сведе до минимум рискът от нейното срутване поради движение на почвата, се препоръчва да се добави сух цимент към почвата.
Осигуряване на запечатан капак за поддръжка
Оптималният вариант за покриване на септична яма е метален капак за шахта с херметичен капак. Ако искате да спестите пари и да купите нещо по-евтино, помислете за дървен капак с панти.
Люкът ще е необходим за обслужване на изгребната яма - изпомпване на отпадъчни води или подновяване на пречиствателния слой.
Гледайте видеото
Напоследък камуфлажът на септична яма стана популярен, особено ако не е визуално привлекателен. Специализираните магазини предлагат широка гама от опции за този вид камуфлаж, от зеленина до големи камъни. Разбира се, можете да създадете и свой собствен декоративен елемент от предмети от бита, като например украсите конструкцията с цъфтящи растения.
Типични грешки
Изграждането на септична яма от бетонни пръстени самостоятелно не е трудно. Положителни резултати могат да се постигнат само чрез спазване на всички правила. Понякога обаче хората се сблъскват с грешки, които впоследствие влияят на функционалността на септичната яма:
- Ямата не е правилно запечатана. Между бетонните пръстени могат да се образуват празнини;
- неправилно определяне на обема на септичната яма;
- недостъпност за достъп от превозни средства за обезвреждане на отпадъчни води;
- неспазване на стандартите на SanPiN.
Що се отнася до последните две точки, дори ако септичната яма е изградена правилно, тя все пак ще трябва да бъде премахната. Следователно, тези точки изискват специално внимание.
Гледайте видеото
[sociallocker]
Колко ще струват строителството и материалите?
Цената на изграждането на бетонна септична яма се влияе от количеството използвани материали.
- Изкопаване на фундаментна яма и полагане на 5 бетонни пръстена – от 8 000 рубли.
- Изграждане на стоманобетонен покрив – от 1000 рубли.
- Монтаж на полимерен люк – от 600 рубли.
- Изграждане на дъното на септичната яма – от 1500 рубли.
- Изкопаването на главен тръбопровод и засипването му струва от 1000 рубли на линеен метър.
- Изработване на отвори за вход на тръби – от 1000 рубли.
- Монтаж и закрепване на PVC тръби – от 100 рубли на линеен метър.
Цената може да варира и в зависимост от това дали са необходими допълнителни работи и материали, като например инсталиране на филтърно дъно или маскиране на изгребната яма с декоративни елементи.
Гледайте видеото







